行业动态
行业动态
首页 > 新闻资讯 > 行业动态 >
市场监管总局(国家标准委)发布2026年第1号国家标准公告
时间:2026-01-15 浏览量:

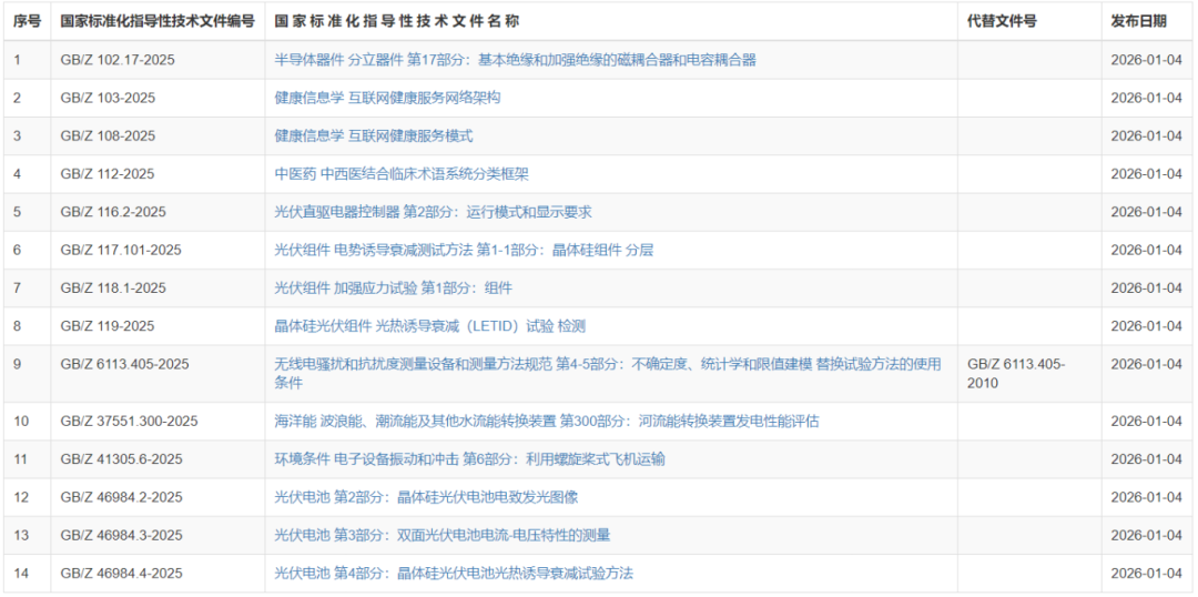
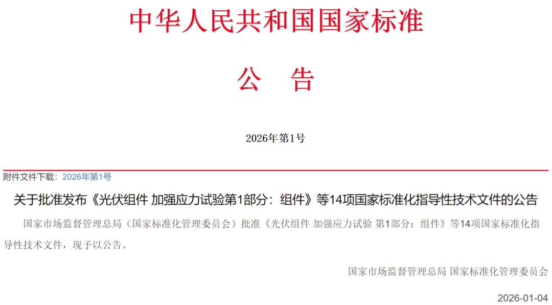
日前,国家市场监督管理总局(国家标准化管理委员会)发布《关于批准发布〈光伏组件 加强应力试验第1部分:组件〉等14项国家标准化指导性技术文件的公告》。具体内容如下:

image.png

14项国家标准化指导性技术文件image.png

附件

关于批准发布《光伏组件 加强应力试验第1部分:组件》等14项国家标准化指导性技术文件的公告